Home Page World War II Armed Forces — Orders of Battle and Organizations Last Updated 30.01.2012
Swedish Army
In coorperation with Ingólfur Björgvinsson
Order of Battle
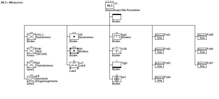
Military Area VI
June 1944
 
MILO VI
 
Previous Page Symbols